湖北“咬人”电梯厂家曾为盖板支架申请专利

申龙电梯曾为盖板支架申请专利
专利申请时间与涉事型号电梯生产时间为同一年 发明人已从申龙离职
申龙电梯公司表示,这款专利只曾经应用于机场使用的扶梯,并未投入市场大规模生产和销售。对于这款专利是否应用到涉事的同型号电梯,申龙电梯副总经理兼技术总监唐志荣表示,研发时间已经过去太久,需要调查一下才能回复。
7月28日湖北电梯事故技术调查组发布了事故调查报告,调查组认定申龙电梯股份有限公司该类型产品涉及的盖板结构设计不合理,容易导致松动和翘起。昨日,北京青年报记者调查发现,申龙电梯公司曾于2008年10月31日申请一项名为“自动扶梯转向端内外盖板支架”的国家专利。此前,申龙公司总经理袁强称,涉事型号的自动扶梯开始生产销售的时间也是2008年。申龙电梯副总经理兼技术总监唐志荣承认确有该项专利,但否认该专利研发后曾投入市场大规模生产。此专利的发明人已于几年前从申龙离职。
调查
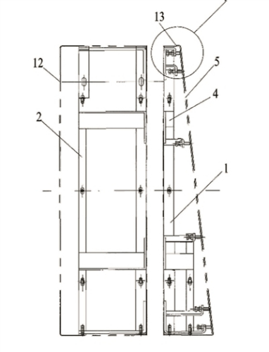
专利方便扶梯内外盖板安装
7月28日,湖北荆州市安良百货集团有限公司电梯致人死亡事故原因调查报告正式形成。报告认定造成事故的主要原因是申龙电梯股份有限公司该类型产品涉及的盖板结构设计不合理,容易导致松动和翘起,安全防护措施考虑不足;申龙电梯股份有限公司涉及事故的3块盖板尺寸与图纸不符;有关制造单位对出厂产品零部件质量把关不严,导致产品安装成型后三盖板间水平活动范围过大。
记者调查后发现,申龙公司在2008年10月31日曾在国家知识产权局申请了名为“自动扶梯转向端内外盖板支架”的专利,并于2009年8月19日公开。据专利说明书介绍,这一专利的主要应用范围为公共交通型扶梯和自动人行道。所谓“转向端”,即自动扶梯齿级调头返回的地区,通常位于电梯的入口和出口处。该专利技术是针对扶梯末端的两块盖板,以及几块盖板之间的连接装置。
该专利说明书认为,原有的支撑结构会出现在护板与内盖板结合边缘不够紧密的情况下,内、外盖板间存在缝隙的情况,影响自动扶梯的外观质量。专利设计的优点为:通过在内盖板支架上安装朝向护板的顶紧装置,顶紧护板与内盖板之间的边缘,消除护板与内盖板之间的缝隙,以便更容易地安装内、外盖板,使其更加紧密、美观,并提升了护板边缘承受外力的能力;通过在内盖板支架下的新设计,可以满足倾斜设置护板的需要;可以根据外盖板宽度决定支架主要部件之一的C形环的数量。
据业内人士介绍,顶紧设备的利用可以让盖板链接更加紧凑,从而提升电梯盖板的美观程度。另外这项专利设计也能降低安装技术的门槛。

申龙:这项专利未大规模投产
申龙电梯副总经理兼技术总监唐志荣对北京青年报记者表示,“自动扶梯转向端内外盖板支架”确实系申龙电梯公司发明并申请的专利。但他表示,申龙电梯公司的专利研发申请后并不意味着一定要投入实际生产,这款专利只曾经应用于机场使用的扶梯,并未投入市场大规模生产和销售。对于这款专利是否应用到涉事的同型号电梯,他表示研发时间已经过去太久,无法联系到当年的研发人员,他需要调查一下才能回复。对于北青报记者提出希望采访专利发明人陈烨的要求,唐志荣称陈烨在两三年前已经从申龙电梯离职,自己并不知道他目前的联系方式。
据报道,29日的新闻发布会上,申龙电梯有限公司总经理袁强介绍,此次荆州电梯安全事故,所涉及的自动扶梯为申龙所生产制造的一款FML08型产品,系2008年开发的产品。袁强说,目前这款FML08型电梯在全国运行的有4648台,对于此次发生的安全事故,他们也是第一次遇到,感到非常意外和诧异。
袁强表示,目前申龙公司尚未接到任何官方性的结论报告。申龙公司有多款型号电扶梯产品,均通过国家电梯检测中心试验,并取得生产许可,包括此次事故的FML08型产品。
据新华社报道称,2015年3月16日事故电梯曾经由湖北特种装备检验检测研究院检验,结果为“检验合格”。调查组了解到:“检测的项目中没有包含盖板这一项。”事故调查组成员熊亮表示,电梯特检项目中,分为必检项目和一般项目,但“盖板检测既不属于必检项目,也不属于一般项目”。
事发商场内同型号电梯16部
新华社电(记者 梁建强 王自宸)湖北荆州安良百货商场内近日发生电梯“吃人”事故,一名乘梯女士坠入自动扶梯防护挡板与梯级回转部分的间隙内死亡。记者30日从事故调查组获悉,事故电梯驱动站内未设防护装置;商场内共有事故同型号电梯16台,目前均已紧急停用。
据事故技术调查组介绍,经排查,安良百货商场内共安装自动扶梯22台,其中6台为其他品牌,另外16台均为申龙电梯股份有限公司生产的、与事故电梯同型号电梯。而《湖北安良“7·26”电梯安全生产一般事故技术调查报告》中明确指出,“申龙电梯股份有限公司该类型产品涉及的盖板结构设计不合理,容易导致松动和翘起,安全防护措施考虑不足。”
事故技术调查组多名成员指出,事故电梯的驱动站内未设保护装置,未能有效避免盖板发生翻转,且乘梯人坠入后电梯无法及时自动停止。事发后,商场内的所有自动扶梯均已暂停使用。
目前,对于商场内16台事故电梯同型号电梯后续将如何处置,尚未有明确方案。湖北安良百货集团有限公司相关负责人表示,将在事故调查全部完成后再进行安排。文/见习记者 屈畅
观察
申龙电梯凭借 低价优势竞争
据申龙电梯股份有限公司官网介绍,该公司创立于1992年,是一家集设计、制造、销售、安装、服务于一体的现代化电梯生产企业。其产品销往全国31个省区市,及俄罗斯、马来西亚、澳大利亚等海外市场。该企业还获得全国用户满意产品和服务单位、中国驰名商标、江苏省高新技术企业、江苏省高新技术产品、江苏省明星企业等荣誉。
记者采访多家电梯代理商和使用企业发现,近几年来,申龙电梯凭借低价优势,在激烈的市场竞争中获得中小型地方房企和连锁商超等客户的青睐,成为行业后起之秀。该公司财报显示,2012年、2013年和2014年分别实现营业收入为9.57亿元、10.9亿元和12亿元,净利润分别为1亿元、9937万元和1.24亿元。2014年5月23日,申龙电梯向证监会报送IPO申报稿,于今年7月2日通过证监会发审委审核。
虽然业务呈现快速发展势头,但申龙电梯在技术研发方面的投入却处行业较低水平。数据显示,与企业利润攀升形成鲜明对比的是,申龙电梯研发费用占营业收入比重反而降低。2012年、2013年和2014年研发费用占营业收入的比例分别为3.46%、3.65%、3.11%。
另外,申龙电梯技术人员占员工总人数的比重也远远低于同行业。2014年申龙电梯技术人员所占员工总人数比例为9.41%,而国内同类企业一般在两位数。
同类电梯大品牌价格为20万至40万元,申龙电梯则低得多。对此,袁强称,申龙有自己的零配件生产企业,零配件60%由公司内部企业提供,故而能够缩减成本。
据业内人士介绍,楼高4米到4.5米的自动扶梯价格一般为每台16万元左右,而申龙公司的统计数字显示,2012年至2014年,该公司同类自动扶梯产品销售平均单价均不超过每台12万元。“在开拓市场过程中,低价应是申龙电梯的利器。”一位某国际品牌电梯公司销售经理说。文/新华

相关
杭州发生电梯夹人事故 一女子不治身亡
新华社电(记者 屈凌燕 张璇)7月30日上午10时15分许,一名女子乘坐杭州新华坊18幢电梯时发生意外,经抢救无效死亡。
记者从杭州市消防江干大队艮山支队获悉,电梯故障发生在新华坊18幢16层和17层中间位置,一名女子恰好被卡在电梯和内墙之间,该女子胸部以上位置卡在17层,下半身悬空在16层,当时情况十分危急。11时,消防官兵利用救援器材破拆电梯门将女子解救出来,“120”医护人员将该女子送往医院做进一步治疗。
记者从杭州市红十字会医院党政办公室核实,12时10分,女子被送至医院时已无心跳、呼吸等生命体征,经抢救一个多小时,宣告不治。家属和事发地辖区政府负责人、出事女子家长、单位领导均赶到医院。
目前,事故电梯被封暂停使用,下城区政府已经组织联合调查组,相关调查取证工作正按照法律途径展开。下城区政府召开紧急会议,在全区范围内对事故发生的同品牌、同型号电梯全部进行安全排查。
据悉,发生事故的电梯是西子奥的斯品牌,目前电梯由杭州通达公司日常维护。针对杭州新华坊电梯夹人事件,电梯厂家西子奥的斯电梯有限公司30日发表声明:“我们向本次事件中的遇难者及其家庭表示深切的慰问。我们素来重视产品质量及安全。本次涉事电梯自2008年开始已不属于我们维保。目前,有关部门已对此事件展开调查,我们将积极配合。”
统计数据显示,截至今年3月30日,杭州市电梯保有量已达7.6万余台,排名全国省会城市第三位。其中,住宅小区电梯近4万台,使用10年以上的住宅电梯达到5100余台。
进展
北京80部同型号扶梯暂停运行
北京市质监局昨天公布本市共有80台湖北荆州7·26事故同型号苏州申龙自动扶梯,目前已暂停运行,待消除安全隐患后方可恢复运行。
昨天,市质监局并未透露这80部电梯在全市的分布区域。据悉,湖北荆州7·26自动扶梯事故发生后,市质监局立即组织开展全市自动扶梯安全排查。7月30日下午,市质监局针对苏州申龙品牌自动扶梯开展现场勘察和技术分析。
为了避免发生同类事故,市质监局已发出紧急通知,要求全市范围内在用的80台湖北荆州7·26事故同型号苏州申龙自动扶梯暂停运行。电梯使用单位、维保单位和制造单位要对该80台自动扶梯开展安全评估,并在消除安全隐患后方可恢复运行。
经专业技术人员初步分析认为,苏州申龙电梯股份有限公司制造的湖北荆州7·26事故同型号自动扶梯可能存在安全风险。
据市质监局相关负责人介绍,下一步市质监局将继续组织开展全市范围内自动扶梯安全排查。同时,质监局提醒广大市民,关注电梯安全标示,遵守乘梯须知,安全乘坐电梯。
昨天,申龙电梯北京分公司的负责人对北青报记者表示,他们目前还没有收到北京质监局停用申龙电梯的消息,“总公司方面一旦收到,就会很快转给我们。”
对于荆州方面的技术调查报告,这名负责人表示他已经看过,对里面提到的问题正在仔细研究。
这名负责人表示,事故发生之后,他们这两天一直在对荆州电梯事故同型号的电梯进行安全检查,暂时还没有检查出问题,“这些总公司那边都有数据,我们自己维保的60多部同型号电梯已经检查完了,还有一些是客户自己找的维保单位,这个不太好统计,所以现在我们还在查,应该很快就可以检查完。”
这名负责人称,FML08这个型号的电梯是2008年研发的,但在北京的数量并不多。
另据新华社消息, 广东省质监局已紧急通知,要求对申龙电梯有限公司生产并安装在该省的电动扶梯、自动人行道进行专项检查。此前上海市已暂停在用的90台申龙电梯股份有限公司的自动扶梯和自动人行道,全面检查整改。据排查,其楼层板均呈“凸”字形,存在安全隐患。
文/本报记者 李佳 李铁柱
>社会新闻精选:





















